联系电话:
400-966-9098
产品详情
产品概述
300X缓闭式消声止回阀主要用于净水、源水、污水、海水等介质的供、排水管道上,安装在水泵出品处,用以截断介质的回流消除原子能坏性的水锤,保护和道、水泵的安全运行。其主要特点:体形小、重量轻、结构长度只有旋启式止回阀的三分之一左右。缓闭系统性能优良,不受管道中介质的影响,阀瓣先速关后缓闭,可防止破环性水锤。橡胶软密封,封闭性能好,耐磨损,使用寿命长。橡胶缓冲,启闭平稳,无震动,无噪音。比老式止回阀流阻小,有明显的节能效果。
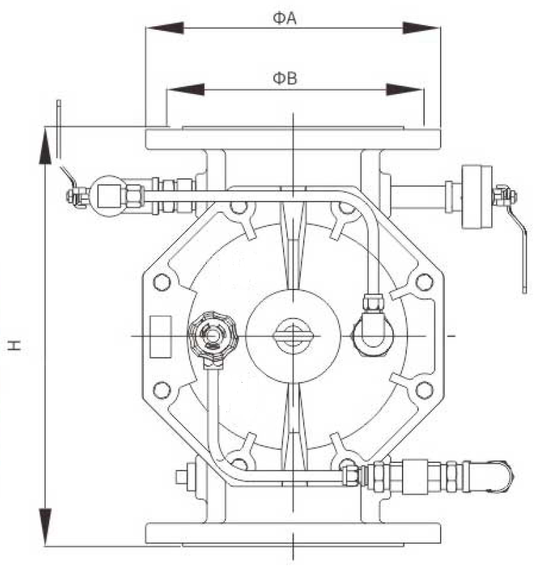
产品尺寸图

主要外形连接尺寸
型号 | DN | H | φA | φB | 螺栓孔 |
ZSFM 65 | 65 | 278 | 160 | 145 | 8-φ18 |
ZSFM 80 | 80 | 344 | 180 | 160 | 8-φ18 |
ZSFM 100 | 100 | 344 | 195 | 180 | 8-φ18 |
ZSFM 150 | 150 | 410 | 280 | 240 | 8-φ23 |
ZSFM 200 | 200 | 520 | 335 | 295 | 12-φ23 |
ZSFM 250 | 250 | 644 | 405 | 355 | 12-φ25 |
ZSFM300 | 300 | 770 | 460 | 410 | 12-φ25 |

:13372267205


